Round 26 to the nearest ten.

30
879 + 246 =
1,125
24 ÷ 4 = V
What does V equal?
V = 6
4 x 3 = A
What does A equal?
A = 12
What time is shown on the clock?

11:36
Round 276 to the nearest tens.

280
What is the sum of 9,408 and 7,553?
16,961
Ms. Martin spends $21 dollars on notebooks. She buys 7 notebooks. How much did each notebook cost?
Each notebook cost $3.
Each banana costs $6.00. How much do 3 bananas cost?
$18.00
Sydney cleans her room for 45 minutes. She starts at 11:13 a.m. What time does Sydney finish cleaning her room?
Round 137 to the nearest hundred.

100
Ms. Song had 178 marbles in her marble jar. By the end of the year, she had taken out 89 marbles. How many marbles were left in the jar? (Remember to answer in a complete sentence. She had...)
She had 89 marbles left.
36 ÷ b = 9
b=4
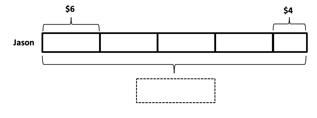
Jason earns $6 per week for doing all his chores. On the fifth week, he forgets to take out the trash, so he
only earns $4. How much does Jason earn in 5 weeks?
Jason earns $28 in 5 weeks.
It takes Austin 29 minutes to complete his chores. Austin’s bus arrives at 7:55 a.m. If he starts his chores at 7:30 a.m., will he be done in time to meet his bus? Explain your reasoning.
No he will not be done in time for the bus because 29 minutes after 7:30AM is 7:59AM. He will be 4 minutes late for the bus.
Round 1761 to the nearest hundred.

1800
The school library bought five hundred ninety-three new books last year. 367 of the new books were chapter books. How many of the new books weren't chapter books?
226 of the new books weren't chapter books.
Seven children share 28 silly bands equally.
Part 1: How many silly bands does each child get?
Part 2: How many silly bands do 3 children get?

Part 1: Each child gets 4 silly bands.
Part 2: 3 children get 12 silly bands.
Ted buys 3 books and a magazine at the book store. Each book costs $8. A magazine costs $4. How much does Ted spend all together?
Ted spends $28 at the bookstore.
Dion walks to school. The clocks below show when he leaves his house and when he arrives at school. How many minutes does it take Dion to walk to school?

It took Dion 14 minutes to walk to school.