An iron transfers energy from electricity into what?
Heat
Write two sources of renewable energy
Solar energy, hydroelectric, geothermal, wind energy, biofuel.
In the circuits we build in class, this is the object used to give power to the circuit.
A battery
True or false: Kinetic energy is moving energy.
True
What do we call the two sides of a magnet?
The north pole and the south pole
A lightbulb transfers energy from electricity into what?
Light
What is considered nonrenewable energy?
Fossil fuels such as natural gas, oil, and coal.
In the circuits we built in class, this is the part used to conduct electricity to other parts of the circuit.
A wire.
True or false: An object that is not moving at the top of a ramp has potential energy.
True
What force is being applied in picture A?

The force of attraction
A doorbell transfers energy into what?
Sound
What is the difference between renewable and nonrenewable energy?
Renewable energy can we used over and over while nonrenewable energy can only be used once.
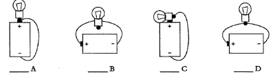
Which of these circuits will light the lightbulb

C.
At which position will the ball hit the wall with the most energy?

Letter C (position 4)
What forces are at work in picture B?

The force of repelling
An electric toothbrush transfers energy into what two things?
Motion and sound
What is the benefit of renewable energy?
It is cleaner for the environment and we do not have to worry about running out of it.
Which of these circuits will work?

B
If the top of the ramp drops to allow the ball to roll down, in what position does the potential energy turn into kinetic energy?

Position 1
In which picture are the forces balanced?

The forces are balanced in both pictures.
A red car rolls down a ramp and bumps into a blue car. The blue car starts to roll backward. Explain what happened between the red car and the blue car.
The red car transferred it's energy into the blue car when they collided.
What is an issue with using fossil fuels?
We can run out of them and they pollute the environment.
Name one way you can tell that energy is being transferred
It is producing heat, light, motion, or sound.
Imagine a car is rolling down this ramp. It collides with the wooden block at the end of the ramp, causing it to move. What is happening when the car hits the block?

The energy of the car is decreasing and the energy of the block is increasing.
How do we know if forces are balanced?

They are not moving.