Two groups of ten radish plants were set up. One group was watered with water having a pH of 3.0, and the other group was watered with water having a pH of 7.0. Write a hypothesis for this experiment.
"If the pH is neutral, then the plant radish will grow more"
OR
The pH of the water will affect the heights of the radish plants.
How does a control group setup in an experiment differ from the other setups in the same experiment?
It does not receive the experimental treatment (Independent Variable)
Provide a title for this graph
The effect of temperature (IV) on dissolved oxygen in water (DV)
What is the volume of liquid in the graduated cylinder?
13 mL
Which structure would you adjust only under high power?
fine adjustment
An experiment was set up to test the effect of a vitamin supplement. What is missing from this experiment?
A control group- a group that does not take the supplement
List 2 ways of increasing validity in an experiment.
-Repeat the experiment
-Set up more trials
-Larger sample size
The independent variable should always go on the ____ axis and the dependent variable should always go on the _____ axis.
horizontal, vertical
What tool is used to measure distance and length?
Metric ruler
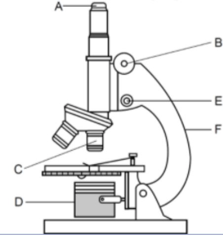
Which structures should be used to focus the image?

B & E - Fine and Coarse Adjustment
How many variables should an appropriately designed experiment test the effect of?
1
Which group is the control group?

Group B (testing permeability of just plain water)
Review the graph above. Identify the independent variable.
Independent- insecticide concentration
How many millimeters are in 1 cm?
10 mm
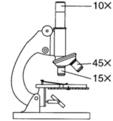
What is the highest total magnification for this microscope?
450x
A student performed an experiment to see if water temperature affects the level of activity in aquatic snails. The student set up four tanks with five snails in each tank. All four of the setups were identical in every way, except for the temperature of the water. In order to make the conclusions more valid, the student could
use larger amount of snails
repeat the experiment
In an experiment, what should be the relationship between the control group and the experimental group?
They should be identical in all respects except one
State the relationship between sugar consumption and tooth decay.

KEY: hashmarks = average sugar intake
solid black = number of teeth with decay
The higher the sugar intake the greater number of teeth that are decaying.
6000 g = ? kg
6 g
When using a compound light microscope, which part of the microscope would be adjusted to make the slide appear to be brighter?
![]()
diaphragm
A student conducted an experiment to determine if listening to different types of music would affect pulse rate. She thought that pulse rate would change with different types of music. Each person participating in her experiment listened to seven different selections of music for 30 seconds each. The pulse rates were taken after each 30-second interval of music. Based on her experiment, the student concluded that a person's pulse rate changed when listening to different types of music. What is missing from this experiment?
control group
A scientist is studying the relationship between caffeine consumption and heart rate. Which of the following would be the dependent variable in this study?
a) Caffeine consumption.
b) Heart rate.
c) The time of day.
d) The age of the participants.
heart rate
Which 2 years saw the highest increase in eagle breeding pairs?
2000 and 2001
This specimen is 200um under high power of 400x. How large is the specimen under lower power of 100x?
200um. (Size of the specimen doesn't change under different magnification)
In order to move this specimen to the center, the user should push the slide....
right and up