Name a point collinear to V
S or W
Given a line segment TR with endpoints T(-1,3) and R( 7,-1). Find the midpoint of TR?
(3,1)
Given two parallel lines cut by a transversal, which 3 angle pairs are congruent?
corresponding, alternate interior and alternate exterior
Solve for x.
x=7

Find m<A
41
Give another name for plane P
Plane URS or UST (3 non-collinear points)
Find the length of GH if G is (2,8) and H is (-3,1)
square root 74
Given two parallel lines are cut by a transversal, which 2 angle pairs are supplementary?
same side interior, same side exterior
Solve for x. 
x=9
Find DE.
DE=37
The intersection of line b and plane P
Point S
If A is (2, -3) and it is translated with the following rule (x-6, y+8), what are the coordinates of A'?
(-4, 5)
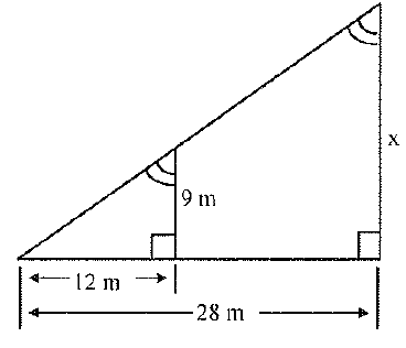
Solve for x. 
24
Which congruency theorem proves triangle CEF is congruent to triangle DEF?
side-side-side
Find TA/

24
Give a counter-example for the following statement: All composite numbers are greater than 5.
4 is less than 5 and is a composite number
Write an equation parallel to y=5/2x+3, through the following point (4,9).
y=5/2x-1
Solve for x.
x=19
Which congruency theorem proves triangle DAJ is congruent to triangle EAM?

Angle-side-angle or side-angle-side
What theorem proves the triangles are similar.

SSS
What is the contra-positive of this statement: If two angles are complementary then they are each 45 degrees.
If two angles are not each 45 degrees then they are not complementary.
Write an equation that is perpendicular to y=-3/2x-1, that goes through the point (8, -5)
y=-3/2x+7
If angles 3 and 5 are congruent then which theorem proves line p is parallel to q?
alternate interior angles converse
Name 5 theorems that prove triangles are congruent.
SSS, SAS, AAS, ASA, HL
Solve for x.
x=21