
What is 6
The distance around a 2-dimensional shape.
What is perimeter.
The amount of 3-dimensional space an object takes up.
What is volume.
Angles that add up to 180 degrees
What are supplementary angles.

Solve for X
What is 50 degrees
The length of a rectangular field is 17 feet. It has an area of 136 feet squared. The missing width is ?
What is 8 feet.

The perimeter of this shape is ?
What is 38 feet

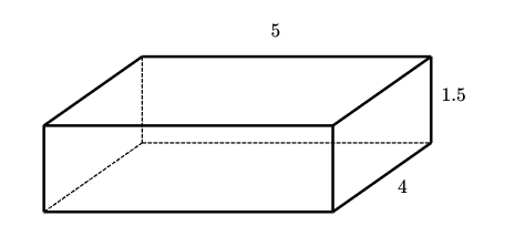
The surface area of the rectangular prism above.

The measure of angle x.
What is 68 degrees.
The interior angles of a triangle add up to how many degrees?
What is 180 degrees.
The shape with the following area formula:
(b1 + b2)h / 2
What is a trapezoid.
The regular hexagon shown below has a perimeter of 42 cm. The length of one side of the hexagon would be ? 
What is 7 cm.
Jen wrapped a gift that was 30 centimeters wide and 40 centimeters tall. The volume of the box was 6,000 cm3. The length of the box is ?
What is 5 cm.
Solve for X.
What is 21

The missing angle measurement.
What is 74 degrees.

The area of the above triangle is 54 units squared.
X = ?
What is 12.

The perimeter of the composite shape above = ?
What is 86 cm.

The volume of the triangular prism shown above.
What is 132 cm3

Solve for X.
What is 61 degrees.

The measure of angle h.
What is 92 degrees

Area = ?
What is 1,168
The area of rectangular lid is 621 inches squared. The length is 27 inches.
Find the perimeter of the lid.
What is 100 inches.
A fish tank measures 12 inches long, by 8 inches wide, by 5 inches high. It is filled from a faucet at a rate of 8 inches per second. How long would it take to fill the tank with water?
What is 60 seconds.

The measure of angles b and d.
What are 110 (angle b) and 70 (angle d)
Can side lengths 18, 24, and 45 form a triangle.
What is yes.

The area of the shaded region is ?
What is 30.96 square units.
The perimeter of a movie screen is 82 meters. The screen is 28 meters wide. How tall is it?
What is 13 meters.
The surface area of the prism below is ? 
What is 67 units squared
The value of y = ?
What is 105 degrees

The longest side of the triangle above is ?
What is EF or FE
Jamie paints a rectangular wall of 209 square feet area in a subtle shade of blue. The height of the wall is 228 inches. Find the width of the wall.
What is 11 feet.
A square vegetable garden has a perimeter of 72 feet. The area of the vegetable garden is ?
What is 324 feet squared.