Definition of Congruence
Equal measures
Tell whether angles are vertical or adjacent then find the value of x.

The sum of the measures of the three angles in a triangle is always
180 degrees.
The sum of the measures of the four angles in a quadrilateral is always
360 degrees.
A polygon with 8 sides is called a
Octagon
1) Give three ways to name the angle.

Q, PQR, and RQP
Angles that sum up to 90 degrees.
Complementary
A triangle with no congruent sides is called a
Scalene
Find the missing measure.

x = 60 degrees.
A polygon with 6 sides is called a
hexagon.
An angle that is 90 degrees.
An angle that 180 degrees.
Right Angle
Straight Angle
Angles that sum up to 180 degrees.
Supplementary
A triangle with two congruent sides is called an
isosceles
Classify each quadrilateral using all names that apply.

Quadrilateral, Parallelogram, and Rectangle
A polygon is a _______ figure formed by _____ or more sides.
closed, 3
An angle that is less than 90 degrees
An angle that is more than 90 degrees
Acute
Obtuse
Tell whether the angles are adjacent, or vertical then find the value of x. 
Adjacent, x=45 degrees
A triangle with all congruent sides is called an
Equilateral
Find the missing measure.

x = 119 degrees.
Write a congruency statement for the figure below

Various answers. Here are some examples
triangle EGP cong triangle DLJ
triangle GPE cong triangle LJD
triangle PEG cong triangle JDL
1) Name the vertex of the angle
2) Name the sides of the angle
3) Classify the angle

1) Q
2) QR and QP
3) Acute
Tell whether the angles are adjacent, or vertical then find the value of x.

Adjacent, x = 57 degrees.
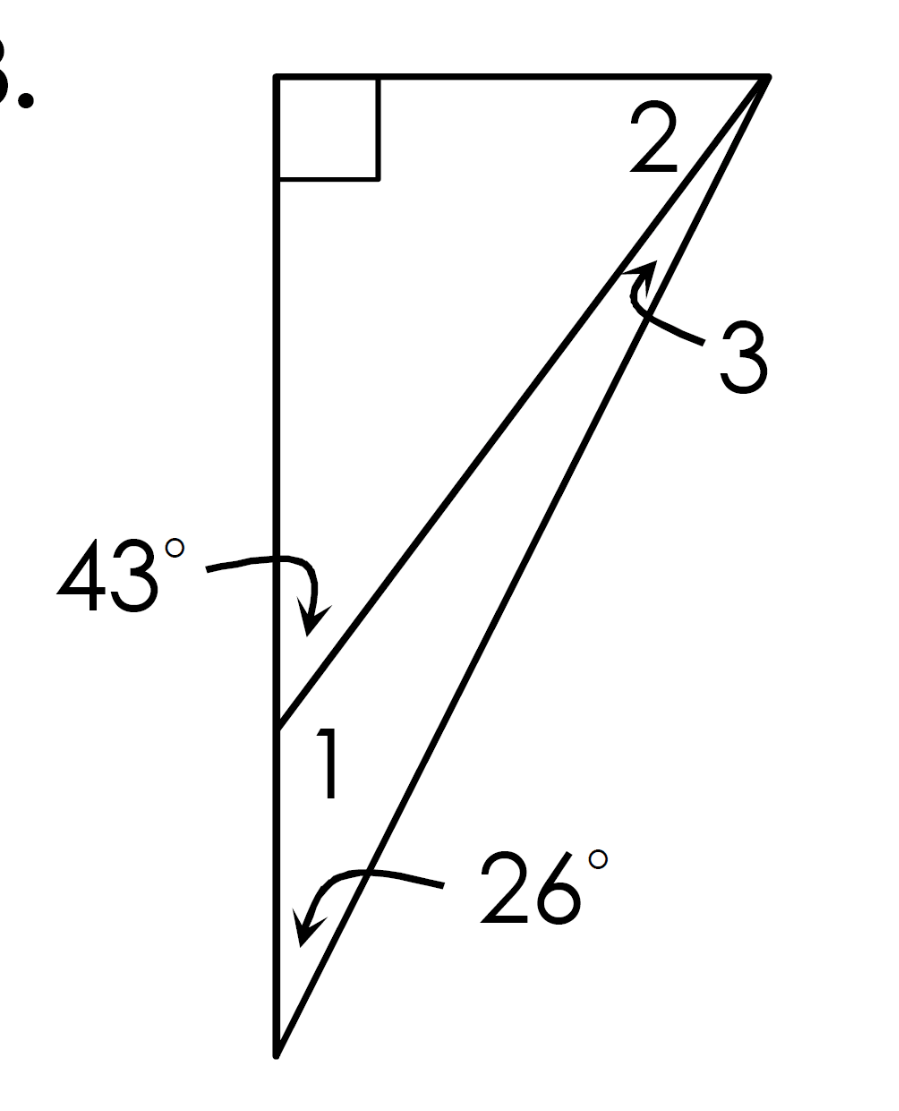
Find each missing measure. Angles 1, 2, and 3.

Angle 2 = 47 degrees
Angle 1 = 137 degrees
Angle 3 = 17 degrees
Classify each quadrilateral using all names that apply.

Quadrilateral, Trapezoid
Find each measure. (Hint - match corresponding parts!)

R = 47 degrees
C = 61 degrees
E = 72 degrees
ED = 10 in
CR = 13 in
DG = 12 in