The Surface Area of the box.
What is 24.375 in2?
The combined length of all four boards on this barn. Right and left halves are symmetrical.
What is
6sqrt13 ft
Do the measurements for this truss match the given pitch needed?
What is No?
In an isosceles triangle the two equal angles are 15 degrees each. What is the measure of the 3rd angle?
What is 150 degrees?
The volume of a box that is 3 ft wide by 4 ft long by 5 ft tall.
What is 60 cubic feet?
The size of a tarp needed to cover a stack of logs 4 ft high by 4 ft wide by 8 ft long.
What is 12' x 16'?
The distance between (3,6) and (8,1) on the coordinate plane.
What is 7.1 units?
A ramp has a slope gradient of 12%. What is the slope of the parallel handrail, represented as a fraction?
What is
3/25
The unknown angle. 
What is 55 degrees?
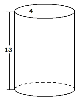
The volume of the cylinder. 
What is
208 pi
The surface area of a cylinder with a radius of 2 ft and a height of 8 ft.
What is
40pi
The exact value of x.
What is
6sqrt2
If the slope of the handrail is 3/25, what is the slope of the perpendicular supports?
What is
-25/3
In a right triangle the angle opposite the short leg is 30 degrees. How big is the angle opposite the long leg?
What is 60 degrees?
The volume of the pyramid.
What is 338,000 cubic feet?
The surface area of the larger banjo. The banjos are similar in shape. 
What is 100 in2?
The distance between (-1,-1) and (-7,8) on the coordinate plane.
What is 10.8 units?
The slope between the points (-1,-1) and (-7,8).
What is
3 sqrt 13
In an isosceles triangle, the vertex is 50 degrees. What is the measure of the two equal angles?
What are 65 degrees?
The volume of the house.
What is 9,600 cubic feet?
The surface area of a sphere with a radius of 5 ft.
What is
100pi
When a 32' ladder is at the farthest point away from the wall that is considered a safe distance, the house, ground, and ladder make a 30-60-90 triangle. Find how far up the wall you are in this setup.
What is 27.7 ft?
State code requires that steps in households cannot have a slope larger than 3/4. Given that the steps are 11 in wide and the height needed to go is 207 in, how many whole steps are required to keep the slope of the stairs up to code?
What is 26 steps?
The unknown angles. 
What are 48 degrees?
The volume of the tee pee.
What is 235.6 cubic feet