Conceptos
Metrología
Programación
Htas. corte
Programación 2
100

Son los usos que tiene la computadora en el proceso general de la manufactura

Diseño de piezas mediante CAD, planeación y programación del trabajo, pruebas, Inspección, control de inventarios

100

Este sistema usa letras mayúsculas y minúsculas para indicar características internas y externas respectivamente, que indican la posición de la zona de tolerancia respecto a la línea de cero

SISTEMA ISO

100

Sistema de programación en el que todas las dimensiones o posiciones están dadas a partir de un punto de referencia sobre el trabajo de la máquina.

ABSOLUTO

100

Dentro del mecanizado es una abertura definida por una vertical tangente a la superficie de corte y la cara frontal del inserto

ANGULO DE INCIDENCIA

100

De acuerdo con lo que viste en clase ¿Cuál código sirve para indicar fin de un subprograma con retorno a la siguiente línea?

M27

200

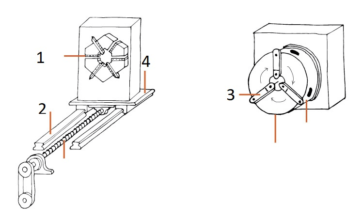
Observe el diagrama e indique cuál es el elemento asociado con el número 1


Torreta

200

Evaluación de una magnitud hecha según su relación con otra de magnitud de la misma especie adoptada como unidad.

Medida

200

Son los códigos usados para programar CNC

Código G,M, S, F, T

200

Es la característica que determina la calidad de acabado superficial

FILO DE CORTE

200

De acuerdo con lo que viste en clase ¿Cuál código sirve para indicar un movimiento rápido?

G00

300

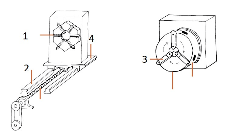
Observe el diagrama e indique cuál es el elemento asociado con el número 2


Bancada

300

Cantidad de juego o interferencia resultante de un ensamble

AJUSTE

300

Es un tipo de código preparatorio

Código G

300

De acuerdo con la clasificación de materiales, a un material no férrico ¿qué tipo de inserto de correspondería?

ISO N

300

De acuerdo con lo que viste en clase ¿Cuál código sirve para indicar el fin del programa ?

M30

400

Siglas en inglés que sirven para indicar el método para controlar con precisión la operación de una máquina mediante una serie de instrucciones codificadas, formadas por números y letras del alfabeto, símbolos que la unidad de control de la máquina puede comprender.

NC

400

Se encarga de estudiar las técnicas de medición que determinan correctamente las magnitudes lineales y angulares.

METROLOGÍA DIMENSIONAL

400

Es un código Misceláneo

Código M

400

Está condicionada por la geometría de la pieza que quiero lograr

FORMA DEL INSERTO

400

De acuerdo con lo que viste en clase ¿Cuál código representa la DESACTIVACIÓN del desplazamiento del punto cero de las posiciones 3 y 4 de la memoria?

G56

500

Son las ventajas que el CNC ofrece a la industria

Precisión, confiabilidad, capacidad de repetición, productividad

500

Ciencia que trata de las medidas, de los sistemas de unidades adoptados y los instrumentos para efectuarlas e interpretarlas

METROLOGÍA

500

Sirven para programar avance y velocidad del husillo

Código F, S

500

Tener un menor ángulo de incidencia es más conveniente para el proceso de:

DESBASTE

500

De acuerdo con lo que viste en clase ¿Qué instrucción sirve para hacer la interpolación circular en sentido antihorario?

G03

600

Marcas de las máquinas CNC en el taller de Mecánica Industrial del CBTIS 88

Torno y Fresadora EMCO y torno Harrison

600

0.8225 pulgadas

600

Instrucción para indicar que las dimensiones estarán en pulgadas

G70

600

Si usamos insertos de menor tolerancia, el costo:

AUMENTA

600

De acuerdo con lo que viste en clase ¿Qué instrucción sirve para hacer el ciclo de cilindrado? 

G84

700

¿Cuántos ejes tiene una fresadora CNC y cuáles son?

Tiene tres ejes: X, Y, Z

700

80.04 milímetros

700

De acuerdo con el video ¿Cuáles serían las etapas para armar el programa CNC?

Parámetros tecnológicos, trayectoria, coordenadas, y código.

700

¿Cuáles son los criterios para seleccionar las herramientas de corte?

Son 1) Material de la pieza 2) Parámetros tecnológicos como profundidad de corte y velocidad de avance 3) Tolerancias y especificaciones 4) Tiempo de ciclo y costo de producción

700

De acuerdo con el video y con lo que viste en clase, qué opciones NO representan las reglas que se deben cumplir para elaborar un programa:

a)  Contener un solo movimiento de herramienta 

b)  Una única velocidad de corte 

c)  Una sola velocidad de husillo 

d)  Número de bloques secuencial 

e)  Varias herramientas activas en la misma línea 

f)  Una misma herramienta por bloque 

g)  Números y letras al azar 

e)  Varias herramientas activas en la misma línea

g)  Números y letras al azar